2026年4月9日,美国专利商标局(USPTO)公布了 Tesla, Inc. 的一份新文件。在这份文件里,你看不到神经网络,看不到世界模型,甚至连 AI 这个词都未曾提及。相反,这份编号为 US20260097493A1 的专利,用极尽细致的笔触描述了一个纯粹的机械结构:膝盖。
这份专利的提交日期其实可以追溯到 Tesla 2022 年的 AI Day 当天,它揭示了人形机器人 Optimus 背后那套“生物感”十足的机械奥秘。就在专利公布的前几天,CEO Elon Musk 还在 X 上发帖称:“Optimus 3 已经可以四处走动了,只是还需要一些最后的润色。” 毫无疑问,它迈出的每一步,依靠的正是这个精密设计的膝盖。
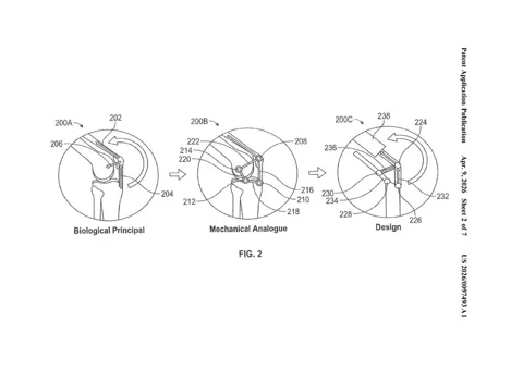
专利中最引人入胜的并非复杂的 CAD 图纸,而是一个简洁的三段式“进化故事”。它从标注为“生物学原理”的人类膝盖解剖图开始,演变为“机械类比”的连杆模型,最后定格在最终的“设计方案”上。文档明确地将股四头肌、髌骨和韧带的功能映射到了一个四连杆机构(four-bar linkage)中。这不仅仅是一个机器人零件,更是对数百万年进化成果的一次硬核机械复刻。凭借一个微小的线性执行器(linear actuator),这套设计实现了与人类相当的 150 度旋转范围。

这种被称为“改进型反向霍肯连杆”(modified inverse Hoecken’s linkage)的机构,是解决复杂运动问题的一个极度优雅的方案。人类膝盖之所以高效,是因为它并非绕着单一支点旋转,其杠杆比会随着弯曲程度而变化,从而在最需要力量的角度迸发出最大扭矩。Tesla 的四连杆系统完美复刻了这种“可变机械增益”,让小功率电机也能驱动出强劲且大范围的动作。专利还展示了 Tesla 如何通过仿真模拟来寻找最优的连杆长度,力求在达到扭矩和速度指标的同时,将功耗降到最低。
为什么这至关重要?
这个膝盖结构是让 Optimus 走向大众市场的“金钥匙”。通过使用单个小型执行器取代更复杂、更耗电的组件,Tesla 大幅削减了机器人腿部的成本、重量和复杂度。这对于实现 Elon Musk 设定的 2 万至 3 万美元的远期售价目标至关重要。为了实现弗里蒙特(Fremont)工厂每年 100 万台的宏大产能计划,Tesla 甚至已经开始停产 Model S 和 Model X,为机器人的生产线腾出空间。
尽管设计精妙,但这种几何结构并非 Tesla 的独门秘籍。分析人士指出,小鹏 (Xpeng) 的下一代人形机器人 IRON 似乎也采用了惊人相似的连杆机构。随着 Tesla 的设计思路自 2022 年 AI Day 以来逐渐公开化,整个行业似乎正在向这种最高效的结构收敛。大自然用了数百万年才进化出的完美几何方案,Tesla 正在试图以工业级的成本控制将其复现。

